Таблица 2.16. Характеристики масляного фильтра
Рис. 2.43. Масляные фильтры автомобилей Mazda 6: 1 – блок цилиндров; 2 – датчик уровня масла; 3 – прокладка; 4 – масляный фильтр; 5 – крышка масляного фильтра; 6 – адаптер масляного фильтра; 7 – датчик давления масла; 8 – уплотнительное кольцо; 9 – маслоохладитель; 10 – к выходному патрубку; 11 – к термостату
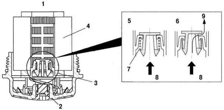
Рис. 2.44. Принцип работы масляного фильтра, установленного на двигателях модели L8: 1 – масляный фильтр; 2 – крышка масляного фильтра; 3 – предохранительный клапан; 4 – корпус масляного фильтра; 5 – нормально; 6 – разгрузка; 7 – пружина; 8 – давление масла; 9 – масляный канал
