2. Снимите отделки задних стоек (см. раздел "Внутренняя отделка салона").
3. Отсоедините разъем обогрева заднего стекла.
4. Снимите отделку крыши (см. раздел "Внутренняя отделка салона").
5. Из салона автомобиля при помощи шлицевой отвертки отсоедините край уплотнителя стекла от кузова автомобиля.
6. После отсоединения уплотнителя, осторожно надавите на стекло и отсоедините его от кузова.
1 - уплотнитель заднего стекла,
2 - отвертка,
3 - край уплотнителя.
7. Снимите заднее стекло.
Установка
1. Очистите и обезжирьте контактные поверхности стекла и кузова по всему периметру.
2. Установите уплотнитель на заднее стекло.

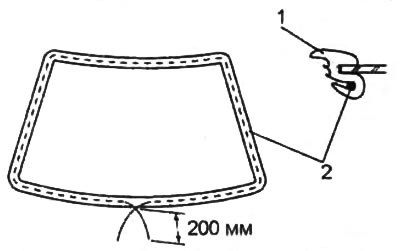
3. Установите шнур ∅4,5 мм в паз уплотнителя стекла и вытяните концы шнура на 200 мм.
1 - уплотнитель,
2 - шнур.
4. Для облегчения установки нанесите мыльный раствор на контактную поверхность кузова и уплотнителя.
5. Совместите край уплотнителя заднего стекла с краем проема стекла.
1 - кузов автомобиля,
2 - уплотнитель заднего стекла,
3 - мыльный раствор.
6. Попросите помощника нажать снаружи на края стекла по всему периметру проема стекла.
[Оригинальный материал на сайте: MAZBOOK]
Одновременно потяните за свободные концы шнура и установите стекло на кузов автомобиля.

7. Проверьте и устраните негерметичные соединения.
а) По истечении времени отвердевания произведите проверку на герметичность соединения.
б) Устраните неплотности соединения герметиком для автомобильных стекол.
8. Установите все снятые элементы.
