2. Нажмите на защелку "С" шлицевой отверткой обмотанной изолентой.

3. Отсоедините защелки "В", "С" и крючок "А", сдвинув накладку в направлении, указанном стрелкой.
4. Отсоедините разъем.
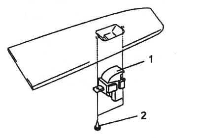
5. Отверните винты и снимите переключатель управления стеклоподъемником.
1 - переключатель управления стеклоподъемником,
2 - винт.
6. Установку произведите в порядке, обратном снятию
