Снятие и установка бокового датчика столкновения
1. Переведите замок зажигания в положение "LOCK".
2. Отсоедините провод от отрицательной клеммы аккумуляторной батареи и подождите не менее 1 минуты.
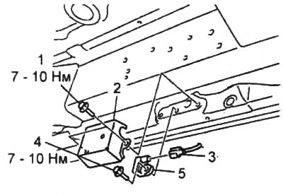
3. Снимите боковой датчик столкновения в последовательности номеров, указанных на рисунке.
1 - болт "А",
2 - крышка,
3 - разъем,
4 - болт "В",
5 - боковой датчик столкновения.
4. Установку произведите в порядке, обратном снятию.
5. Переведите замок зажигания в положение "ОN".
6. Убедитесь, что индикатор системы пассивной безопасности загорелся примерно на 6 секунд, а затем погас. Если индикатор не загорелся, продолжает гореть или мигает, система неисправна. Проведите диагностику.
(Статья доступна на веб-портале www.MAZbook.ru)
