MazBook.ru
Русский English
Български
Беларускі
Український
Српски
Hrvatski
Română
Polski
Slovenský
Magyar
• В закладки • Карта • Контакты •   
Автомобили Opel Автомобили Ford Автомобили Volkswagen Автомобили Audi Автомобили Kia Автомобили Renault Автомобили Peugeot
 
 
 
 
 
 
 
Familia Capella Mazda3 Mazda6 CX-? Прочие Статьи
CX-5 KE (2012-2017)

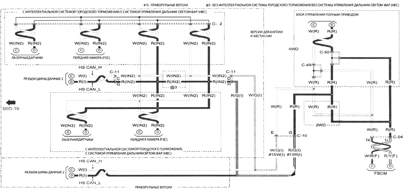
Схема разъема шины данных (Mazda CX-5 KE)

  • Главная
  • Мазда Ц ИКС
  • CX 5 KE (2012-2017)
  • Электрооборудование
  • Электрические схемы
  • Схема разъема шины данных
0

Разъем шины данных



Разъем шины данных
Открыть большую картинку в новой вкладке »


Открыть большую картинку в новой вкладке »
Открыть большую картинку в новой вкладке »


Открыть большую картинку в новой вкладке »
Открыть большую картинку в новой вкладке »


Как читать электрические схемы вы можете узнать здесь →
Эта статья доступна на: английском, болгарском, белорусском, украинском, сербском, хорватском, румынском, польском, словацком, венгерском
Этот текст был проверен: Евгений Мерешников
Поделиться с друзьями в социальных сетях:

Предыдущие
CX-5 KE » Электрические схемы
Следующие

Схема разводки массы
Схема распределения питания
Как читать электрические схемы
Схема системы охлаждения двигателя
Схема системы питания двигателя
Схема системы зарядки аккумулятора
Схема системы пуска двигателя
Схема круиз-контроля
Еще статьи по ремонту других моделей Мазда
Схема карбюратора Aisan Мазда Фамилия 5 (1985-1989)
Колеса и шины — общая информация Мазда Капелла 3 (1982-1992, бензин)
Конструктивная схема работы механизма фаз газораспределения Мазда3 BK (2003-2009)
Схема работы механизма изменения фаз газораспределения Мазда6 GG (2002-2008)
Тормоза, колеса и шины Mazda 121 (3) (1996-2003)
Ссылка в разных форматах на эту статью
Комментарии и отзывы посетителей
Комментариев пока нет


Сколько будет 16 + 22 ?

       



CX-5 KE (2012-2017) 
  • Общая информация
  • Введение в руководство
  • Руководство по эксплуатации
  • Техническое обслуживание
  • Силовой агрегат
  • Бензиновые двигатели 2.0 л
  • Бензиновые двигатели 2.5 л
  • Дизельные двигатели 2.2 л
  • Система охлаждения
  • Система смазки
  • Система питания
  • Система управления
  • Система впуска и выпуска
  • Электрооборудование двигателя
  • Трансмиссия
  • Сцепление
  • Механическая коробка
  • Автоматическая коробка
  • Раздаточная коробка
  • Приводные валы и кардан
  • Шасси
  • Колеса и шины
  • Передняя подвеска
  • Задняя подвеска
  • Тормозная система
  • Рулевое управление
  • Кузов
  • Экстерьер (внешние элементы)
  • Интерьер (внутренние элементы)
  • Системы безопасности
  • Отопление и кондиционирование
  • Электрооборудование
  • Оборудование и приборы
  • Электрические схемы
Автомобильный анекдот
давайте следующий
MazBook.ru © 2018–2026 · Мобильная версия · Статьи и новости · Карта сайта: EN BG BY UA RS HR RO PL SK HU · Обратная связь · Поиск по сайту · Добавить в закладки Фамилия 5 (BF) · Фамилия 6 (BG) · Капелла 3 (GC) · Капелла 3 и 4 (GC) · Капелла 4 (GD) · Капелла 5 (GE) · Капелла 6 (GF) · Мазда3 BK · Мазда6 GG · CX-5 KE · Mazda 121 (3) · Mazda BT-50 (1) · Автомобильные новости · Справочник автомеханика · Техобслуживание иномарок · Системы впрыска топлива · Установка автосигнализаций
Используя сайт дальше, вы подтверждаете согласие на использование cookies 🔐