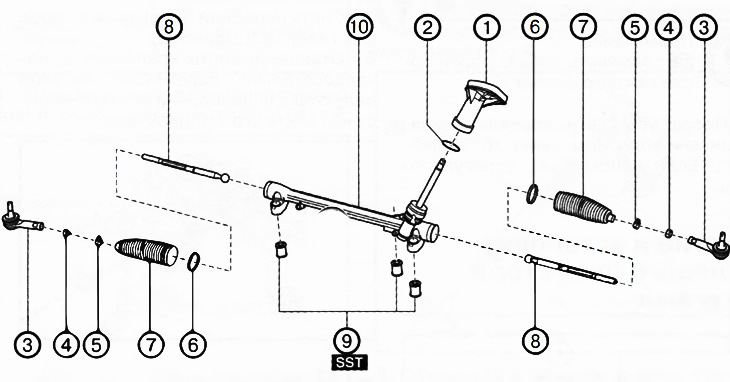
1. Пылезащитная крышка.
2. Уплотнительное кольцо круглого сечения.
3. Наконечники рулевых тяг.
4. Контргайки.
5. Малые хомуты пыльников.
6. Большие хомуты пыльников.
7. Пыльник.
8. Рулевые тяги.
9. Монтажные втулки.
10. Рулевой редуктор.
Примечание:использовать специальный инструмент или приспособления.
Внимание. Для предотвращения повреждений рулевого редуктора зажать его в тисках с помощью медных накладок или чистой ткани.
Разборка рулевого редуктора производится по приведенному рисунку общего вида, с учетом следующих особенностей:
Наконечники рулевых тяг
Нанести установочные метки, как показано на рисунке, для правильной установки в последующем. Снять наконечник рулевой тяги.

Хомуты пыльников
Вставить плоскую отвертку в хомут пыльника, как показано на рисунке. Затем отжать зачеканенную область наружу, чтобы снять хомут пыльника.
(Оригинал статьи размещён на: Mazbook.ru)

Рулевые тяги
Зафиксировать рулевую тягу (со стороны рулевого редуктора) от проворачивания с помощью подходящего гаечного ключа, и отвернуть рулевую тягу с помощью другого подходящего ключа.
![]() |
![]() |
Монтажные втулки
Использовать для извлечения монтажных втулок из корпуса рулевого редуктора подходящую оправку и пресс.



