Оглавление: Электрический топливный насос ⇓ Топливный фильтр ⇓ Регулятор давления топлива ⇓ Гаситель пульсации ⇓ Клапан дополнительной подачи воздуха ⇓ Датчик температуры двигателя ⇓ Датчик положения заслонки ⇓ Расходомер воздуха ⇓ Лямбда зонд ⇓ Форсунки ⇓
Рис. 3. Основные блоки системы LE3-Jetronic: 1 - расходомер воздуха и центральное управляющее устройство, 2 - электрический топливный насос, 3 - топливный фильтр, 4 - регулятор давления топлива, 5- гаситель пульсации, 6 - клапан дополнительной подачи воздуха, 7 - датчик температуры двигателя, 8 - датчик положения заслонки, 9 - форсунки
Электрический топливный насос
Роликово-камерный топливный насос с электрическим приводом и с возбуждением от постоянных магнитов создает давление топлива около 2.5 бар и перекачивает из топливного бака в топливопровод через фильтр.
В некоторых автомобилях этот насос находится в топливном баке.
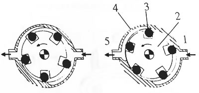
В корпусе находится эксцентриковый дисковый ротор 1 (см. рис. 5, или 2 на рис. 4).
Рис. 4. Принцип действия топливного насоса: 1 - подача топлива, 2 - дисковый ротор, 3 - ролик, 4 - кольцо роликов, 5 - выход топлива
Рис. 5. Устройство топливного насоса
Рис. 6. Электросхема подключения топливного насоса
В пазах, сделанных по контуру ротора, движутся металлические ролики 2 под действием центробежной силы. Эти ролики выполняют функцию мембраны.
Топливо поступает в пустые камеры и подается в топливопровод системы питания 3. Невозвратный клапан (4) защищает от возврата топлива в бак в время, когда двигатель не работает.
Если давление больше 4 бар, перегрузочный клапан 5 вызывает возврат топлива в камеру 6.
Управляющее реле вызывает включение системы питания топливного насоса, непосредственно после включения замка зажигания.
Если двигатель неожиданно глохнет, а замок зажигания находится в положении "движение", цепь питания насоса немедленно обесточивается.
Возможные неисправности, вызванные неисправностью электрического топливного насоса:
- Двигатель не запускается или запускается с трудом
- Нестабильна частота холостого хода
- Двигатель "не тянет" (глохнет независимо от включенной передачи КПП)
- Падение мощности двигателя
Топливный фильтр
Для очистки топлива после топливного насоса служит фильтр, размещенный в системе на топливопроводе повышенного давления (см. рис. 7, 8).
Топливный фильтр состоит из металлического цилиндрического корпуса, в котором помещен фильтрующий элемент из пористой бумаги и тканного слоя, служащего для задержки возможных кусочков бумаги.
Фильтрующие элементы закреплены изнутри к металлическим стенкам на резьбе. С одной стороны фильтра подсоединяется впускной топливопровод, а с другой стороны - выпускной.
Во время монтажа фильтра обратите особое внимание на стрелку на корпусе, обозначающую направление прохождения топлива.
Необходимость замены фильтра зависит от степени его загрязнения. В зависимости от величины фильтр надо заменять после пробега 30000-80000 км.
Рис. 7. Топливный фильтр
Рис. 8.
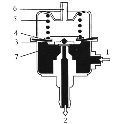
Регулятор давления топлива
Регулятор давления топлива (см. рис. 9) устанавливается на конце топливопровода и регулирует давление в системе. Регулятор состоит (см. рис. 10) из металлического корпуса, разделенного на две камеры диафрагмой 4, поджатой пружиной 5. Если давление топлива превышает установленную величину, клапан 7 открывается и открывает возможность отведения излишков топлива в топливный бак.
Штуцер 6 соединяет впускной коллектор двигателя с полостью регулятора (разрежение). Таким образом обеспечивается взаимозависимость между давлением в топливной системе и абсолютным давлением во впускном коллекторе, независимо от условий работы.
Рис. 9.
Рис. 10. Регулятор давления топлива
Гаситель пульсации
После топливного фильтра установлен гаситель пульсации, служащий для уменьшения пульсаций давления топлива, которые как правило появляются на низкой частоте вращения коленвала (см. рис. 11).
Эта пульсация вызвана разницей давления топлива, возникающей в результате открытия и закрытия топливных форсунок, либо срабатывания регулятора давления топлива.
Рис. 11. Гаситель пульсаций
Клапан дополнительной подачи воздуха
Клапан (см. рис. 12) обеспечивает подачу необходимого количества воздуха во время запуска холодного двигателя. Этот клапан выполняет такую же функцию, как автоматическое пусковое устройство ("заслонка") в карбюраторных моделях.
Сечение канала 3 (см. рис. 13) регулируется заслонкой 4, в которой имеется отверстие 1 для прохождения воздуха. Изменение положения заслонки осуществляется под воздействием термобиметаллического элемента 2 с нагревательной обмоткой, постоянно находящегося под напряжением от двойного дистанционного выключателя.
Когда температура возрастает, термобиметаллический элемент, преодолевая сопротивление пружины, перемещает заслонку, уменьшая подачу дополнительного воздуха, вплоть до момента достижения двигателем рабочей температуры, при которой подача воздуха в коллектор этим путем будет полностью закрыта.
Рис. 12. Клапан дополнительной подачи воздуха с электрическим подогревом: 1 - разъем 2 - нагревательная обмотка 3 - термобиметаллический элемент 4 - заслонка с отверстием
Рис. 13.
Возможные неисправности, вызванные выходом из строя клапана дополнительной подачи воздуха:
- Двигатель не запускается или запускается с трудом
- Двигатель глохнет сразу же после запуска
- Низкая частота на холостом ходу
Рис. 14. Проверка сопротивления клапана
Рис. 15. Электросхема клапана дополнительной подачи воздуха
Датчик температуры двигателя
Датчик температуры (см. рис. 16) представляет собой терморезистор с отрицательным температурным коэффициентом сопротивления, помещенный в металлический корпус. Терморезистор, являющийся полупроводниковым элементом, уменьшает свое сопротивление при возрастании температуры.
Датчик передает информацию об изменении температуры двигателя в центральное управляющее устройство. Эта информация необходима для корректировки состава (обогащения) смеси, до момента достижения двигателем рабочей температуры.
В двигателях с жидкостным охлаждением датчик температуры расположен в блоке цилиндров, где в контакте с охлаждающей жидкостью он принимает ее температуру.
Рис. 16.
Возможные неисправности, вызванные выходом из строя датчика температуры двигателя:
- Двигатель не запускается или запускается с трудом
- Двигатель глохнет сразу же после запуска
- Повышенный расход топлива
- Повышенная концентрация CO в выхлопных газах во время работы на холостом ходу
Рис. 17. График изменения сопротивления датчика температуры двигателя
Рис. 18. Устройство датчика температуры
Рис. 19. Электросхема подключения датчика температуры двигателя
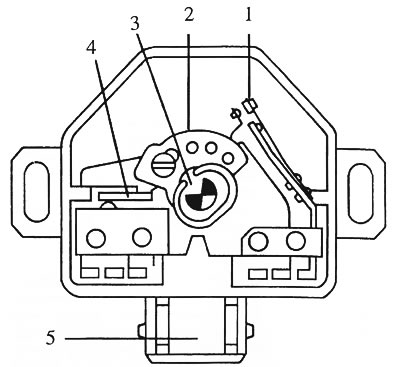
Датчик положения заслонки
В зависимости от нагрузки во время эксплуатации и условий работы силового агрегата, центральное управляющее устройство на основании информации от отдельных датчиков высылает управляющие импульсы к форсункам.
Во время торможения двигателем центральное управляющее устройство может прервать впрыск топлива. Это приведет к прекращению выброса в атмосферу несгоревших углеводородов и, кроме того, к значительной экономии топлива.
Именно на основании сигнала, поступающего от датчика положения заслонки (см. рис. 21), отвечающего за работу двигателя на холостом ходу, а также от частоты вращения, центральное управляющее устройство может прервать генерирование импульсов для форсунок. Условия, при которых снова открываются форсунки, зависят от температуры охлаждающей жидкости и частоты вращения коленвала.
Для того, чтобы не допустить во время включения подачи топлива резкого изменения тягового момента, подача топлива производится в два этапа. Сначала подается лишь часть топлива, после чего постепенно, с промежутками в десятые доли секунды достигается номинальная величина.
Датчик положения заслонки имеет контакт холостого хода 4 и контакт полной нагрузки 1 (см. рис. 21).
На центральном контакте 3 находится выключатель, приводимый в действие осью заслонки и замыкающий или размыкающий контакты 1 и 4.
В положениях полной нагрузки или холостого хода, соответствующие сигналы обрабатываются центральным управляющим устройством, которое отвечает за обогащение состава смеси, а также за создание импульса на открытие форсунки.
Рис. 20.
Рис. 21. Датчик положения заслонки: 1 - контакт полной нагрузки; 2 - выключатель, приводимый в действие осью заслонки; 3 - центральный контакт; 4 - контакт холостого хода; 5 - подсоединение питания
Возможные неисправности, вызванные выходом из строя датчика положения заслонки:
- Нестабильная частота холостого хода в закрытом положении
- Пониженная мощность двигателя при полной нагрузке
Рис. 22. Проверка датчика положения заслонки при помощи омметра (в закрытой позиции). Величина сопротивления между зажимами "5" и "15" должна составлять 0 Ом.
Рис. 23. Электросхема подключения датчика положения заслонки
Расходомер воздуха
При нажатии на педаль "газа" изменяется положение заслонки, что приводит к изменению количества засасываемого двигателем воздуха, что в свою очередь влияет на его мощность.
На основании сигнала, передаваемого в центральное управляющее устройство расходомером воздуха, (см. рис. 24, 25) можно точно определить необходимую порцию топлива (длительность впрыска).
Рис. 24.
Рис. 25.
Поток засасываемого двигателем воздуха отклоняет заслонку, находящуюся в расходомере. Набегающему потоку воздуха соответствует определенное положение заслонки, находящейся под давлением спиральной пружины.
Измерительная заслонка связана с компенсационной заслонкой. Изменения давления, вызванные изменениями фазы работы каждого цилиндра, воздействуют одинаково на обе заслонки. Моменты сил, приложенных к обеим заслонкам, взаимокомпенсируются и не влияют на точность измерения. В центральное управляющее устройство поступает сигнал от потенциометра, находящегося на оси заслонки, соответствующей ее угловому положению.
Конструкция расходомера воздуха обеспечивает логарифмическую зависимость между расходом воздуха и угловым положением заслонки. Это в свою очередь обеспечивает большую точность измерений при малом расходе воздуха.
Датчик температуры (терморезистор с отрицательным температурным коэффициентом сопротивления), который измеряет температуру засасываемого воздуха, находится внутри расходомера. Необходимость в нем возникает потому, что удельный вес воздуха (плотность) зависит от температуры.
Потенциометр, служащий для регулировки концентрации CO находится в отверстии корпуса расходомера воздуха. Регулировка возможна только на холостом ходу и после включения датчика положения заслонки (минимальное открытие заслонки).
Терморезистор и потенциометр, служащие для регулировки концентрации СО, передают сигналы в центральное управляющее устройство. Сигналы от терморезистора позволяют регулировать длительность впрыска при измененном весовом отношении воздуха к топливу. Сигналы от потенциометра изменяют длительность впрыска для того, чтобы привести к полному сгоранию смеси на холостом ходу.
Центральное управляющее устройство находится внутри расходомера воздуха.
Лямбда зонд
Принцип действия
Задачей зонда является периодическая отправка в центральное управляющее устройство данных о составе выхлопных газов. Регулировочный контур постоянно приспосабливает систему к новым условиям, обеспечивая тем самым наивысшую производительность.
Корпус зонда (см. рис. 26) выполнен из специального керамического материала, соединен с металлической трубкой, выполняющей защитные функции. Зонд лямбда сконструирован так, чтобы его можно было поместить на выпускном коллекторе. Керамический наконечник должен иметь контакт с выхлопными газами, а второй наконечник зонда лямбда устанавливают так, чтобы он контактировал с атмосферой.
Рис. 26. Устройство зонда лямбда
Принцип действия зонда основывается на свойствах керамического материала, который при температуре выше, 300°C проводит ионы кислорода.
Если концент кислорода на наконечниках зонда различна, создается разница потенциалов. Полученное таким образом напряжение зависит от разницы концентрации кислорода в атмосфере и в выпускном коллекторе. Благодаря возможности измерять содержание кислорода в выхлопных газах, зонд лямбда позволяет контролировать состав топливо-воздушной смеси. Неправильная концентрация кислорода вызывает скачки напряжения. Сигнал об этом передается в центральное направляющее устройство для обработки.
Центральное управляющее устройство так регулирует подачу топлива к форсункам, чтобы состав топливно-воздушной смеси вернулся к норме.
Зонд лямбда посылает распознаваемые сигналы при температурах, превышающих 330°C, благодаря чему центральное управляющее устройство, располагающее соответствующей контрольной системой не приводит в действие регулировочную систему во время запуска, то есть при ненагретом двигателе.
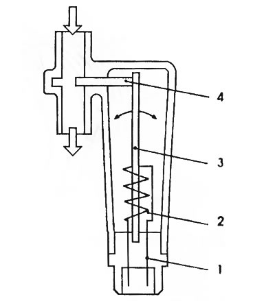
Форсунки
Топливо подается в двигатель через управляемые электрическими сигналами форсунки. Форсунки расположены в отдельных трубах впускного коллектора (см. рис. 27). Форсунка состоит (см. рис. 28) из корпуса, содержащего катушку электромагнита 3 и стержня 2, жестко соединенного с иглой 1, прижатой к гнезду винтовой пружиной. Электромагнитное поле, создаваемое в катушке электромагнита, в результате импульсов тока, высылаемых центральным управляющим устройством поднимает стержень, преодолевая при этом сопротивление пружины.
Длительность открытия форсунки, зависящее от центрального управляющего устройства, регулирует количество подаваемого топлива. Для того чтобы получить смесь однородного состава все форсунки соединяются между собой параллельно, что обеспечивает равномерное дозирование топлива по цилиндрам.
Система питания обеспечивает подачу к форсунке половину порции топлива, приходящейся на один оборот коленвала двигателя.
Рис. 27. Коллектор форсунок
Рис. 28. Форсунка: 1 - игла; 2 - стержень электромагнита; 3 - катушка электромагнита; 4 - электрический провод; 5 - подача топлива
Рис. 29. Электросхема подключения форсунок
Возможные неисправности, вызванные неправильной работой форсунок:
- двигатель не запускается или запускается с трудом
- нестабильная частота холостого хода
