Сигнал на подачу топлива, зависящий от количества засасываемого воздуха, передается в центральное управляющее устройство в виде электронного импульса, посылаемого расходомером воздуха.
Использование системы впрыска LE3-Jetronic позволяет создавать смесь с составом, в значительной степени ограничивающим степень токсичности выхлопных газов. В двигатель подается только необходимое количество топлива, а также обеспечена равномерная запитка отдельных цилиндров, в зависимости от условий эксплуатации.
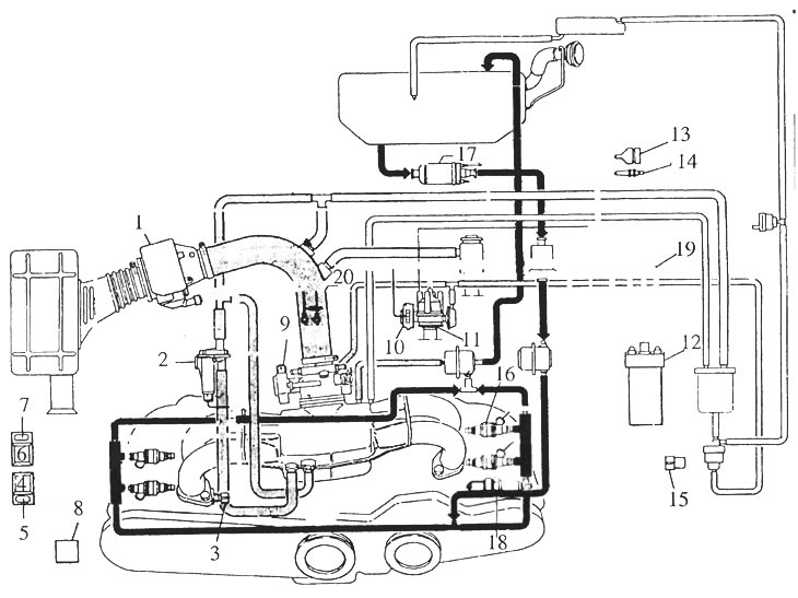
Рис. 2. Схема системы LE3-Jetronic: 1 - расходомер воздуха, центральное устройство управления впрыском и датчик температуры воздуха, 2 - клапан дополнительной подачи воздуха, 3 - датчик температуры двигателя, 4 - главное реле, 5 - предохранитель лямбда зонда (7,5 А), 6 - реле топливного насоса, 7 - предохранитель топливного насоса (15 А), 8 - заземление, 9 - датчик положения заслонки, 10 - модуль зажигания, 11 - распределитель зажигания, 12 - катушка зажигания, 13 - разъем резистора зонда лямбда, 14 - разъем зонда лямбда, 15 - разъем лямбда зонда, 16 - форсунки, 17 - электрический топливный насос, 18 - свечи зажигания, 19 - тахометр, 20 - центральное соединение с массой
