Проверка датчика положения клапана системы рециркуляции ОГ
1. Отсоедините разъём датчика.
2. С помощью омметра измерьте сопротивление между выводами "А" и "В" датчика.
- Сопротивление — около 5 кОм

При необходимости, замените клапан системы рециркуляции ОГ.
Проверка клапана
Подсоедините вакуумный насос к клапану и проверьте проходимость воздуха между портами "1" и "2" клапана при указанном разрежении.
Разрежение:
- 30,0-36,6 кПа — клапан закрыт
- другое — клапан открыт

Если описанные условия не выполняются, замените клапан.
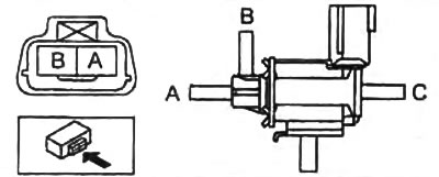
Проверка контрольного электромагнитного клапана
(Исходный текст можно найти на: MAZBOOK.RU)
1. Снимите контрольный электромагнитный клапан системы рециркуляции ОГ.
2. Проверьте проходимость воздуха через клапан.
а) Проверьте отсутствие проходимости воздуха между штуцерами "А" и "В" и наличие проходимости между штуцерами "В" и "С".
б) Подайте напряжение аккумуляторной батареи на вывод "А", а массу на вывод "В" электромагнитного клапана. Проверьте проходимость воздуха между штуцерами "А" и "В" отсутствие проходимости между штуцерами "В" и "С".

Если описанные условия не выполняются, замените э/м клапан.
