Оглавление: Снятие и установка ⇓ Указатели ⇓
Снятие и установка
Отсоедините провод от отрицательной клеммы аккумуляторной батареи и опустите вниз регулируемую рулевую колонку.
Рис. 13.42. Элементы крепления комбинации приборов с выключателями: 1 – винты крепления выключателей; 2 – левый блок выключателей; 3 – верхний кожух; 4 – облицовка комбинации приборов; 5 – правый блок выключателей; 6 – винты крепления выключателей; 7 – комбинация приборов
Выверните винты крепления верхнего кожуха и облицовки комбинации приборов (рис. 13.42, 13.43).
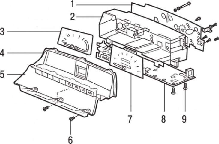
Рис. 13.43. Элементы крепления комбинации приборов без выключателей: 1 – облицовка комбинации приборов; 2 – винт; 3 – комбинация приборов; 4 – разъемы; 5 – лампа подсветки; 6 – винт крепления комбинации приборов
Выверните винты крепления комбинации приборов.
Отсоедините трос привода спидометра.
Вытяните комбинацию приборов, отсоедините разъемы и снимите комбинацию приборов и блоки выключателей с панели приборов.
Установка проводится в последовательности, обратной снятию.
Указатели
Отсоедините провод от отрицательной клеммы аккумуляторной батареи.
Снимите комбинацию приборов.
Комбинация приборов аналогового типа
Рис. 13.44. Комбинация приборов аналогового типа: 1 – задняя пластина; 2 – корпус комбинации приборов; 3 – указатели температуры охлаждающей жидкости и уровня топлива; 4 – рамка; 5 – стекло; 6 – винт крепления стекла; 7 – спидометр; 8 – печатная плата; 9 – винт крепления печатной платы
Выверните винты и снимите стекло, печатную плату и пластину (рис. 13.44).
Выверните болты и извлеките комбинацию приборов из корпуса.
Установка проводится в последовательности, обратной снятию.
Комбинация приборов цифрового типа
Снимите лампы, патроны и выверните винты для снятия печатных плат из корпуса.
Рис. 13.45. Элементы электронной комбинации приборов: 1 – задняя пластина; 2 – винт крепления нижней печатной платы; 3 – нижняя печатная плата; 4 – датчик уровня топлива; 5 – винты крепления стекла; 6 – стекло; 7 – тахометр и пластина; 8 – датчик температуры охлаждающей жидкости; 9 – спидометр; 10 – счетчик пробега; 11 – печатная плата; 12 – корпус комбинации приборов
Выверните винты и снимите стекло (рис. 13.45).
Снимите тахометр и печатную плату.
Снимите выключатель дисплея.
Снимите блок и ручку управления освещением.
Выверните винты и отсоедините разъемы от спидометра, указателей уровня топлива и температуры охлаждающей жидкости.
Установка проводится в последовательности, обратной снятию.
Замена троса привода спидометра
Выверните болт и снимите трос и привод спидометра с коробки передач.
Частично вытяните комбинацию приборов так, чтобы получить доступ к задней части комбинации приборов. Отсоедините трос от спидометра.
Отсоедините трос от противопожарной перегородки и достаньте его из моторного отсека.
Перенесите все уплотнительные кольца и, если необходимо, ведомое зубчатое колесо со старого троса на новый.
Установка проводится в последовательности, обратной снятию. При установке не допускайте образования петель на новом тросе привода спидометра и не пропускайте его через узкие втулки.
