Оглавление: Проверка лопаток колеса компрессора ⇓ Проверка лопаток турбины ⇓ Проверка привода направляющих…⇓ Проверка контрольного вакуумного…⇓ Проверка электромагнитного клапана ⇓
Проверка лопаток колеса компрессора
1. Снимите отделочную панель двигателя.

2. Снимите воздуховод, расположенный между корпусом воздушного фильтра и турбокомпрессором.
3. Осмотрите лопатки колеса компрессора с помощью зеркала и фонарика, как показано на рисунке и убедитесь в отсутствии их повреждения и деформаций.
Примечание:
- Убедитесь, что колесо компрессора не задевает за корпус турбокомпрессора. Если колесо задевает, это может свидетельствовать о внутренней неисправности турбокомпрессора.
- После замены турбокомпрессора проверьте элементы системы впуска и выпуска, а так же линии системы смазки на отсутствие повреждений.
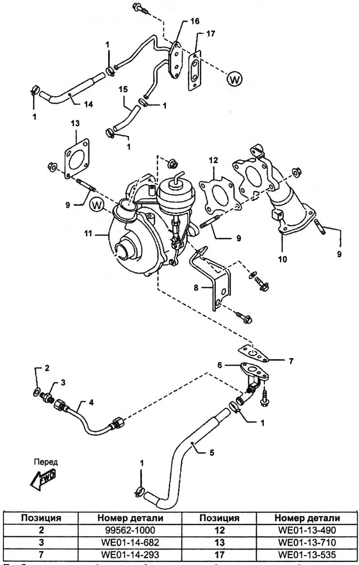
Турбокомпрессор.
1 - хомут,
2 - прокладка,
3 - соединитель,
4 - шланг подачи моторного масла,
5 - шланг возврата моторного масла,
6 - масляная трубка,
7, 12, 13, 17 - прокладка,
8 - кронштейн турбокомпрессора,
9 - шпилька,
10 - приемная труба системы выпуска,
11 - турбокомпрессор,
14, 15 - шланги системы охлаждения,
16 - трубка системы охлаждения.

При наличии повреждения лопаток колеса компрессора, замените турбокомпрессор.
Проверка лопаток турбины
1. Снимите отделочную панель двигателя.
2. Снимите приемную трубу системы выпуска ОГ.
3. Осмотрите лопатки турбины с помощью зеркала и фонарика, как показано на рисунке и убедитесь в отсутствии их повреждения и деформаций.
Примечание:
- Убедитесь, что колесо турбины не задевает за корпус турбокомпрессора. Если колесо задевает, это может свидетельствовать о внутренней неисправности турбокомпрессора.
- После замены турбокомпрессора проверьте элементы системы впуска и выпуска, а так же линии системы смазки на отсутствие повреждений.

При наличии повреждения лопаток турбины, замените турбокомпрессор.
Проверка привода направляющих лопаток турбокомпрессора
1. Дайте двигателю остыть.
2. Отсоедините вакуумный шланг от исполнительного механизма.
[Исходный текст опубликован на: MAZBOOK.ru]
3. Подсоедините вакуумный насос и убедитесь, что шток клапана перемещается при изменении разрежения.
Разрежение:
- менее 14,2 кПа — начало перемещения
- более 47,3 кПа — полностью переместился

Если функционирование отличается от описания, замените турбокомпрессор.
Проверка контрольного вакуумного клапана
1. Снимите клапан.
2. Подайте воздух под давлением в порт "А" клапана и убедитесь, что воздух проходит из порта "А" клапана в порт "В".
3. Подайте воздух под давлением в порт "В" клапана и убедитесь, что воздух не проходит из порта "В" клапана в порт "А".

В противном случае, замените контрольный вакуумный клапан.
Проверка электромагнитного клапана
Проверка проводимости воздуха
1. Отсоедините провод от отрицательной клеммы аккумуляторной батареи.
2. Снимите электромагнитный клапан регулирования давления наддува.
3. Проверьте отсутствие обрыва цепи клапана. С помощью омметра измерьте сопротивление между выводами. При отсутствии проводимости замените электромагнитный клапан.
4. Убедитесь, что воздух не проходит из отверстия "А" к отверстию "В".

5. Подайте напряжение аккумуляторной батареи на вывод "А" клапана, а массу на вывод "В".
6. Убедитесь, что воздух проходит из отверстия "А" к отверстию "В".
Если описанные условия не выполняются, замените электромагнитный клапан.
Проверка сопротивления
С помощью омметра, проверьте сопротивление между выводами клапана (при температуре 20 - 30°C).
- Сопротивление — 12,6 -15,6 Ом

Если сопротивление отличается от установленного, замените электромагнитный клапан.
