Оглавление: 2.1.1. Бензиновая модель — кроме…⇓ 2.1.2. Бензиновая модель —…⇓ 2.1.3. Дизельная модель ⇓ 2.1.4. Отделение коробки передач от…⇓
Двигатель с коробкой передач поднимают вверх из автомобиля. Для этой работы требуется подъемный механизм, однако двигатель можно поднять с помощью двух сильных человек и без механизма. Дальнейшее описание дает вкратце универсальное пояснение снятия двигателя т. к. невозможно описать все работы для каждой отдельной модели. В зависимости от модели проводятся соответствующие работы:
2.1.1. Бензиновая модель — кроме DOHC-двигателя
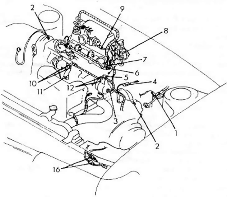
Рис. 11. Подробности снятия и установки двигателя в DOHC-двигателе имеются аналогичные детали: 1. Аккумуляторная батарея и кронштейн; 2. Воздушный фильтр; 3. Главный высоковольтный кабель; 4. Трос управления акселератором; 5. Трос дроссельной заслонки; 6. Шланг питания; 7. Шланг охлаждения; 8. Масляные шланги (автоматика); 9. Жгут проводов к радиатору; 10. Радиатор и вентилятор; 11. Жгут проводов двигателя; 12. Вакуумной шланг, сервотормоз; 13. Трехтактный клапан с соленоидным приводом; 14. Шланг (в Европе не применяется); 15. Шланг обогревателя; 16. Жгут проводов коробки передач; 17. Спираль тахометра; 18. Головка цилиндра сцепления; 19. Соединительный трос (автоматика); 20. Приводной ремень; 21. Компрессор и консоль; 22. Насос гидроусилителя рулевого привода; 23. Щиток двигателя; 24. Переднее колесо; 25. Наконечник поперечной рулевой тяги; 26. Стабилизатор поперечной устойчивости; 27. Нижний поперечный рычаг подвески; 28. Приводной вал; 29. Шток вилки переключения передач (ступенчатая коробка передач); 30. Удлинительная система тяг и рычагов (ступенчатая коробка передач); 31 Труба выпуска отработанных газов; 32. Подвеска двигателя; 33. Двигатель и коробка передач; 34. Приводной механизм
Рис. 11 показывает снятые детали о порядке нумерации. Работы нужно проводить, пользуясь этим рисунком. Чтобы выполнить определенную работу, нужно прочесть соответствующую главу, где она описана подробно:
- Отсоединить провод от полюсов аккумулятора и аккумуляторную батарею снять вместо с кронштейном, т. к. детали должны быть готовы к дальнейшей работе.
- Отвинтить капот. Обвести карандашом очертания шарнира на щитке капота, чтобы при монтаже капот вернулся в первоначальное положение. Хотя снимать капот не обязательно, будет лучше, если он не мешает.
- Слить моторное масло и охлаждающую жидкость.
- Снять воздушный фильтр. В зависимости от исполнения двигателя воздушный фильтр (2) имеет разную конструкцию. Чистой тряпкой заглушить отверстие карбюратора, чтобы внутрь не попали посторонние предметы. В насосно-карбюраторном двигателе впускное отверстие не такое восприимчивое.
- Главный кабель (3) вытащить из катушки зажигания.
- Приводной трос (4) отделил, от дроссельной заслонки.
- При установленной в привод автоматике отделить трос дроссельной заслонки (5).
- Отсоединить топливные шланги (6). Заглушить свободные концы шлангов соответствующими болтами, чтобы горючее но вытекало. Следите, чтобы горючее не просачивалось.
- Верхний и нижний шланг радиатора (7) отсоединить после освобождения хомутика.
- При установленной в привод автоматике оба шланга маслоохладителя (8) отсоединить от водяного охлаждения.
- Отсоединить зажимы от клемм температурного регулятора (9) в радиаторе.
- Радиатор (10) снять вместе с вентилятором.
- Жгут проводов двигателя (11) отсоединить от всех клемм.
- Вакуумный шланг (12) вытащить из тормозного гидроусилителя.
- Смять трехтактный клапан (13) с соленоидным приводом.
- Оба шланга обогревателя (15) отсоединить от передней стенки моторного отделения.
- Жгут проводов коробки передач (16) отсоединить и отвести в сторону.
- Освободить гайку с косой сетчатой накаткой и отсоединить спираль тахометра (17).
- Отсоединить провода головки блока цилиндров сцепления и отвинтить цилиндр (18) от коробки передач.
- При установленной в привод автоматике отсоединить соединительный трос (19).
- Если имеется кондиционер, после ослабления ременной передачи нужно снять приводной ремень вместе с компрессором (21), не отсоединяя шлангов.
- Насос гидроусилителя рулевого привода (22) снять, не снимая шлангов, и закрепить в удобном месте куском проволоки.
- Отвинтить щиток двигателя (23).
- Автомобиль спереди поставить на козлы и отвинтить переднее колесо (24).
- Наконечник поперечной рулевой тяги (25) отделить от рычага поворотного кулачка.
- Стабилизатор поперечной устойчивости (26) отделить от подвески переднего колеса.
- Поперечный рычаг подвески отделить на нижней стороне поворотного кулачка.
- Чтобы предотвратить повреждение манжет приводного вала, их нужно обмотать чистой тряпкой. После этого оба приводных вала (28) снять с коробки передач, как это описано в соответствующей главе.
- Шток вилки переключения передач (29) и удлинители тую сис тему тяг и рычагов (30) при снятой ступенчатой коробке передач отвинтить со стороны передачи.
- Отделить трубку выпуска отработанных газов (31) от патрубка.
- Двигатель с помощью подъемника приподнять в моторном отсеке. После этого отвинтить подвеску двигателя (32) от двигателя и коробки передач.
- Двигатель и коробку передач осторожно поднять и медленно вынуть из моторного отделения. Приводной агрегат поднять вверх. При этом нужно следить, чтобы но были забыты подсоединения, кабели и т.п.
Если мотор завис, нужно немедленно принять соответствующие меры. Установка двигателя осуществляется в обратном порядке, однако нужно соблюдать следующие моменты:
- Подвески двигателя монтировать в соответствии с рис. 12 и запускать с соответствующим начальным пусковым моментом.
Рис. 12. Вид на двигатель и подвеску коробки передач с моментом затяжки: 1. Гайка. 67-93 Т-Кт; 2. Гайка. 85-117 Нм; 3. Гайка. 64 89 Нм; 4. Болт. 36-54 Нм; 5. Болт. 37-53 Н-т
- Штангу переключения передач и стабилизатор системы тяг и рычагов управления механизмом переключения монтировать в соответствии с описанием в разделе о коробке передач.
- Конец приводною вала смазать смазкой, вставить в паз новое упорное кольцо и вал осторожно завести в коробку передач, чтобы при этом не повредить уплотнение. После установки захватить руками диск на конце вала, как показано на рис. 13, и потянуть вперед и назад. Тем самым гарантируется, что вал удерживается стопорным кольцом.
Рис. 13. Контроль приводного вала (см. текст).
- Все детали подвески переднего колеса монтировать согласно описанию в соответствующем разделе. Особенное внимание обращать на то, что конец соединительной системы тяг и рычагов стабилизатора поперечной устойчивости должен выступать из верхней части гайки точно на 20.1 мм. как показано на рис. 14.
Рис. 14. К установке стабилизатора поперечной устойчивости (см. текст).
- Смонтировать цилиндр сцепления и выпустить воздух из гидросистемы.
- Закрепить соединительный трос автоматической передачи в соответствии с рис. 15. Гайку 1 затянуть с усилием 44-64 Нм, гайку 2 — с усилием 16-23 Нм.
Рис. 15. Закрепление приводного троса (автоматика коробки передач). О начальном пусковом моменте справляться в тексте.
- При надевании шлангов системы охлаждения контролировать, чтобы они не имели надрезов.
- При этом нужно следить, чтобы все клеммы отсоединенного жгута проводов были установлены на соответствующие подсоединения. Рис. 16 и 17 дают способы подсоединения карбюраторного и насосно-карбюраторного двигателей. Версия на рис. 16 справедлива для обоих видов.
Рис. 16. Укладка отдельных кабелей в насосно карбюраторном двигателе. Нумерация относится и к рис. 17.: 1. Катушка зажигания; 2. Двигатель; 3. Тепловой датчик для дистанционного термометра; 4. Выключатель сервоуправления; 5. Кислородный датчик; 6. Датчик температуры воды; 7. Жгут проводов распылителя (распылитель); 8. Регулятор соленоидного привода (распылитель); 9. Датчик установки дроссельной заслонки; 10. Бесщеточный генератор переменного тока; 11. Регулятор давления масла; 12. Стартер; 13. Подогреватель, карбюратор; 14. Запертый клапан топлива (карбюратор).; 15. Регулятор соленоидного привода (карбюратор); 16. Жгут проводов коробки передач
Рис. 17. Укладка жгутов кабеля в насосно-карбюраторном двигателе.
- Залить в двигатель предписанное количество масла.
- Систему охлаждения заполнить антифризом из бачка.
- Включить двигатель и контролировать течь воды, топлива или масла.
- Устанавливать зазор в клапанах, зажигание, холостой ход, если проводились работы, которые влияли на эти установки.
2.1.2. Бензиновая модель — DOHC-двигатель
Снятие и установка DOHC-двигателя (два распределительных вала верхнего расположения) осуществляется аналогично тому, как это описано в главе 2.1.1 для обычного бензинового двигателя. Можно пользоваться рис. 11.
Автомобили с этим двигателем оснащены только одной коробкой передач, и все указания по автоматической коробке передач также могут быть использованы. При отсоединении отдельных кабелей можно пользоваться рис. 18.
Рис. 18. Укладка жгутов кабеля в DOHC-двигателе: 1. Катушка зажигания; 2 Тепловой указатель; 3. Датчик числа оборотов; 4 Регулятор сервоуправления; 5. Двигатель; 6. Датчик температуры воды; 7. Регулятор температуры воды; 8 Датчик температуры коленчатого вала; 9. Кислородный датчик; 10. Регулятор соленоидного привода; 11. Регулятор соленоидного привода (регулировка холостого хода); 12. Датчик установки дроссельной заслонки; 13. Жгут проводов системы впрыска топлива; 14. Жгут проводов коробки передач; 15. Бесщеточный генератор переменного тока; 16. Регулятор давления масла; 17. Стартер
2.1.3. Дизельная модель
Рис. 19. Подробности снятия и установки дизельного двигателя. Работы по снятию деталей нужно проводить в порядке нумерации: 1. Аккумуляторная батарея и кронштейн; 2. Управление акселератором; 3. Воздушный филътр; 4. Жгут проводов к радиатору; 5. Шланг охлаждения; 6 Радиатор и вентилятор; 7. Вакуумный шланг сервотормоз; 8 Трубопровод промежуточного охладителя (не установлен); 9. Шланг питания; 10. Кожух приводного ремня; 11. Насос гидроусилителя рулевого привода; 12. Подвеска двигателя; 13. Цилиндр сцепления; 14. Спираль тахометра; 15. Жгут проводов к коробке передач; 16. Компрессор кондиционера; 17. Жгут проводов двигателя; 18. Шлаки подогревателя; 19. Переднее колесо; 20. Боковой кожух двигателя; 21. Наконечник поперечной боковой тяги; 22. Соединение стабилизатора поперечной устойчивости; 23. Нижний поперечный рычаг подвески; 24. Приводной вал; 25. Рычаг управления механизмом переключения коробки передач; 26. Рычаг стабилизатора; 27. Труба выпуска отработанных газов и упорный угольник; 28. Подвеска двигателя; 29. Блок двигателя и коробки передач; 30. Коробка передач
На рис. 19 показаны разобранные детали в соответствующей последовательности. Работы нужно проводить, ссылаясь на этот рисумок. Чтобы выполмть определенную работу, нужно прочесть соответствующую главу, в которой эта работа описана:
- Отсоединить провод, соединявший полюс аккумулятора с корпусом, и полностью снять аккумулятор вместе с кронштейном (1). т. к. детали должны быть подготовлены к следующим работам.
- Отвинтить капот. Обвести карандашом очертания шарнира на щитке капота, чтобы при монтаже капот вернулся в первоначальное положение. Хотя снимать капот не обязательно. будет лучше, если он не мешает.
- Слить моторное масло и охлаждающую жидкость.
- Снять приводной трос акселератора (2).
- Снять воздушный фильтр.
- Отсоединить жгут проводов от радиатора (4).
- Снять радиатор вместе с вентилятором.
- Вакуумный шланг отсоединить от тормозного гидроусилителя (сервотормоз).
- Отсоединить шланги питания (9). Заглушить свободные концы шлангов, чтобы но вытекало горючее.
- Снять кожух приводного ремня (10).
- Снять насос гидроусилителя рулевого управления (11), не отсоединяя шланги, и закрепить куском проволоки со стороны моторного отделения.
- Снять подвеску двигателя (12).
- Отвинтить гидросистему в месте, указанном на рис. 20. и отсоединить цилиндр сцепления (13).
Рис. 20. Снятие и установка головки цилиндра сцепления у дизельного двигателя
- Гайку с косой сетчатой накаткой отпустить и отсоединить спираль тахометра (14).
- Отсоединить жгут проводов коробки передач (15).
- В случае, если имеется кондиционер, после ослабления ременной передачи нужно снять приводной ремень и компрессор вместе с компенсатором (16). не отсоединяя шлангов. Компрессор в удобном месте закрепить проволокой.
- Отсоединить жгут проводов двигателя.
- Отсоединить шланг обогревателя (18) и снять.
- Переднюю часть автомобиля поставить на козлы и отвинтить передние колеса.
- Отвинтить щиток кожуха двигателя (20).
- Наконечник поперечной рулевой тяги (21) отсоединить от рычага поворотного кулачса.
- Отсоединить штангу стабилизатора (22) от подвески передних колес.
- Поперечный рычаг подвески (23) отсоединить на нижней части поворотного кулачга.
- Чтобы предотвратить повреждение манжет приводного вала, их нужно обернуть чистой тряпкой. После этого вынуть оба приводных вала (24) из коробки передач как это описано в соответствующей главе.
- Шток вилки порсключетмя передач (25) и удлинительную систему тяг и рычагов (26) отвинтить со стороны коробки передач.
- Трубу выпуска отработанных тазов (27) отделить от патрубка.
- Двигатель с помощью трелевоччой петли подвесить на подъемник и приподнять приводной агрегат. Поело этого отвинтить подвеску двигателя (28) от двигателя и коробки передач
- Двигатель и коробку передач осторожно поднять и медленно вынуть из моторного отделения. Приводной агрегат поднять наверх. При этом следить, чтобы не были забыты подсоединения. кабели и т.д.
- Если мотор повис, нужно немедленно принять соответствующие меры.
Установка двигателя осуществляется в обратном порядке, однако нужно соблюдать следующие моменты:
- Подвеску двигателя монтировать аналогично тому, как это показано на рис. 12. Придерживаться тех же моментов затяжки.
- Штангу переключения передач и стабилизатор системы тяг и рычагов управления механизмом переключения монтировать в соответствии с описанием в разделе о коробке передач
- Конец приводного вала смазать смазкой, вставить в паз новое упорное кольцо и вал осторожно ввести о коробку передач, чтобы при этом не повредить уплотнение. После установки захватить руками диск на конце вала, как показано на рис. 13. и потянуть вперед и назад. Тем самым гарантируется, что вал удерживается пружинным стопорным кольцом.
- Все детали подвески передних колес монтировать согласно описанию в соответствующем разделе. Особенное внимание обращать на то. что конец соединительной системы тяг и рычагов стабилизатора поперечной устойчивости должен выступать из верхней гайки точно на 20.1 мм, как это показано на рис. 14.
- Смонтировать цилиндр сцепления и привинтить гидросистему (рис. 20)
2.1.4. Отделение коробки передач от двигателя
Для всех типов двигателей работы производятся аналогичным образом. Отвинтить стартер и вынуть его. В стандартных и дизельных двигателях под цилиндром сцепления и усилительными хомутами слева и справа отвинтить щиток кожуха. У дизельного мотора, кроме того, с одной стороны на хомуте привинчен шлант. Удалить соединительные болты между двигателем и коробкой передач и коробку потянуть вперед от двигателя так. чтобы не нагрузить вал.
У DOHC-двигателя нужно снять только стартер, освободить болты и вытянуть коробку передач.
При соединении коробки передач на фланцах соблюдать следующие моменты затяжки:
- Стандартный двигатель: усилительный хомут на двигателе 37-52 Нм. коробка передач на двигателе 90-120 Нм, щиток кожуха для картера сцепления 8-11 Нм.
- DOHC-двигатель: коробка передач на двигателе внизу 37-52 Нм. коробка передач на двигателе вверху 90-120 Нм.
- Дизельный мотор: усилительный хомут на двигателе 37-52 Нм. коробка передач на двигателе вверху 90-120 Нм. коробка передач на двигателе внизу 37-52 Нм. болты с кузовом 55-80 Нм, хомут на скобе 8-11 Нм.
[Оригинальный материал на сайте: mazbook]
